起诉状、答辩状不会写怎么办? 别慌,点击查看示范文本

2025-07-30 08:41
来源: 政治部
    浏览: 5658

别人欠我钱,我想起诉,

怎么填起诉状?

我被别人告了,

答辩状应该怎么写?

别慌!往下看!


为了回应人民群众对于司法审判质效的更高需求,近日,最高人民法院、司法部、中华全国律师协会联合印发了《关于印发部分案件民事起诉状答辩状示范文本的通知》,对第一批11类试行示范文本进行修改完善的同时,又针对刑事(自诉)、民事、商事、知识产权、海事、行政、环境资源、国家赔偿、执行等9个领域常见多发诉讼案件研究制定了56类新的示范文本,自2025年7月14日起全面推广使用。示范文本填写内容是表格化、要素化的,且大部分是直接提供的是勾选项,当事人只要勾选“是”或“否”即可,对于当事人认为与案件无关的,也可以填写“无”或者“不知道”,且每个示范文本都附有对应的填写实例,操作简单便捷。

那么,如何获取正确格式的起诉状、答辩状示范文本呢?方法如下:


方法一:扫描以下二维码获取。

图片


方法二:微信搜索“人民法院在线服务”小程序→辅助工具,按流程进行证件核验后,打开“文书模板”,点击部分案件民事起诉状答辩状示范文本,根据纠纷类型选择相应模板下载即可。

图片图片图片图片


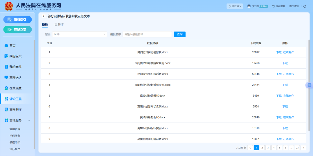
方法三:在网页搜索“人民法院在线服务网”微信扫码或注册账号登录,点击“诉讼工具→民事起诉状答辩状示范文本”,根据纠纷类型选择相应模板下载即可。

图片图片图片


方法四:通山县法院诉讼服务中心以及各人民法庭立案窗口有打印好的纸质版要素式起诉状、答辩状示范文本,可现场咨询工作人员,根据实际需要领取使用。